二、三類醫療器械注冊工作流程
發布日期:2019-05-23 00:00瀏覽次數:4834次
第二類醫療器械是指:對其安全性、有效性應當加以控制的醫療器械。X 線拍片機、B 超、顯微鏡、生化儀屬于Ⅱ類;第三類醫療器械是指:國家對于醫療器械有著嚴格的分類,而三類醫療器械是最高級別的醫療器械,也是必須嚴格控制的醫療器械,是指植入人體,用于支持、維持生命,對人體具有潛在危險,對其安全性、有效性必須嚴格控制的醫療器械。
摘要:第二類醫療器械是指:對其安全性、有效性應當加以控制的醫療器械。X 線拍片機、B 超、顯微鏡、生化儀屬于Ⅱ類;第三類醫療器械是指:國家對于醫療器械有著嚴格的分類,而三類醫療器械是最高級別的醫療器械,也是必須嚴格控制的醫療器械,是指植入人體,用于支持、維持生命,對人體具有潛在危險,對其安全性、有效性必須嚴格控制的醫療器械。這兩類醫療器械注冊工作可分為境內醫療器械注冊工作流程和境外醫療器械注冊工作流程。詳細流程如下:

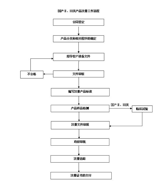
一、境內二、三類醫療器械注冊工作流程:

二、境外二、三類醫療器械注冊工作流程:
